Welcome to Apollo Meters Pvt.Ltd.,

Monday - friday : 8:00 AM to 7:00 PM

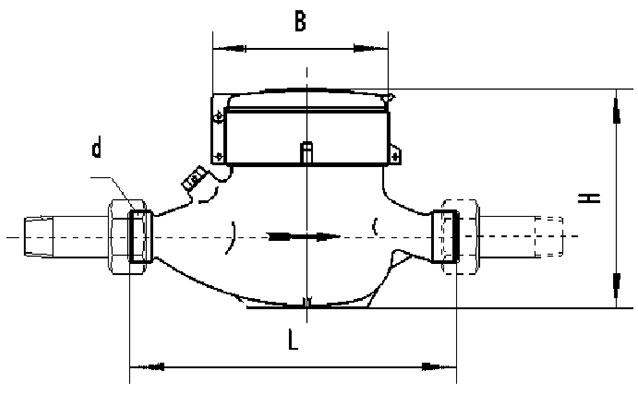
Plastic Multi Jet Water Meters

Application

Measuring the total volume of cold portable water passing through the pipeline.

 

 

Working Principle

The Multi Jet meter operates on the velocity principle, that the water enters thorough the inlet and penetrate through the multi holes of the impeller cup and drives the impeller. The impeller is suspended by hydrodynamic forces to give minimum load on the bearings. The impeller rotation is magnetically transmitted to the register which the reading is made.

Construction of Material

Apollo Multi- Jet Meter body and connectors made in High grade Nylon material with glass filled for extra strength which sustain the heavy load of tools used by the plumbers.

Feature

  • Multi-jet, dry dial, easy for maintenance
  • Magnetic drive reliable characteristic, long working life
  • Vacuum sealed register ensures the dial keep free from fog and frost, Keep the reading clear in a long term service
  • Technical data conform to international standard ISO4064 Class B

Working Condition

  • Water temperature: 0.1℃~50℃ for cold water meter
  • Water pressure : 1.6Mpa

Maximum Permissible Error

(1) in the lower zone from qmin inclusive up to but excluding qt is ±5%.

(2) in the upper zone from qt inclusive up to and including qs is ±2%;

Main Technical Specifications

Size(mm) ISO 4064 Class qs Overload Flow qp Permanent Flow qt Transitional Flow qmin Minimum Flow Minimum Reading Maximum Reading
m3/h L/h m3
15 B 3 1.5 120 30 0.00005 99,999
20 B 5 2.5 200 50 0.00005 99,999
25 B 7 3.5 280 70 0.00005 99,999
32 B 12 6.0 480 120 0.00005 99,999
40 B 20 10 800 200 0.00005 99,999